電源IC制造商 電源IC應用電路和類型介紹及行情趨勢 KIA MOS管
信息來源:本站 日期:2018-04-12
作為一名電源研發工程師,自然經常與各種芯片打交道,可能有的工程師對芯片的內部并不是很了解,不少同學在應用新的芯片時直接翻到Datasheet的應用頁面,按照推薦設計搭建外圍完事。如此一來即使應用沒有問題,卻也忽略了更多的技術細節,對于自身的技術成長并沒有積累到更好的經驗。今天以一顆DC/DC降壓電源芯片LM2675為例,盡量詳細講解下一顆芯片的內部設計原理和結構,IC行業的同學隨便看看就好,歡迎指教!
打開LM2675的DataSheet,首先看看框圖
這個圖包含了電源芯片的內部全部單元模塊,BUCK結構我們已經很理解了,這個芯片的主要功能是實現對MOS管的驅動,并通過FB腳檢測輸出狀態來形成環路控制PWM驅動功率MOS管,實現穩壓或者恒流輸出。這是一個非同步模式電源,即續流器件為外部二極管,而不是內部MOS管。
下面咱們一起來分析各個功能是怎么實現的
類似于板級電路設計的基準電源,芯片內部基準電壓為芯片其他電路提供穩定的參考電壓。這個基準電壓要求高精度、穩定性好、溫漂小。芯片內部的參考電壓又被稱為帶隙基準電壓,因為這個電壓值和硅的帶隙電壓相近,因此被稱為帶隙基準。這個值為1.2V左右,如下圖的一種結構:
這里要回到課本講公式,PN結的電流和電壓公式:
可以看出是指數關系,Is是反向飽和漏電流(即PN結因為少子漂移造成的漏電流)。這個電流和PN結的面積成正比!即Is->S。
如此就可以推導出Vbe=VT*ln(Ic/Is) !
回到上圖,由運放分析VX=VY,那么就是I1*R1+Vbe1=Vbe2,這樣可得:I1=△Vbe/R1,而且因為M3和M4的柵極電壓相同,因此電流I1=I2,所以推導出公式:I1=I2=VT*ln(N/R1) N是Q1 Q2的PN結面積之比!
回到上圖,由運放分析VX=VY,那么就是I1*R1+Vbe1=Vbe2,這樣可得:I1=△Vbe/R1,而且因為M3和M4的柵極電壓相同,因此電流I1=I2,所以推導出公式:I1=I2=VT*ln(N/R1) N是Q1 Q2的PN結面積之比!
這樣我們最后得到基準Vref=I2*R2+Vbe2,關鍵點:I1是正溫度系數的,而Vbe是負溫度系數的,再通過N值調節一下,可是實現很好的溫度補償!得到穩定的基準電壓。N一般業界按照8設計,要想實現零溫度系 數,根據公式推算出Vref=Vbe2+17.2*VT,所以大概在1.2V左右的,目前在低壓領域可以實現小于1V的基準,而且除了溫度系數還有電源紋波抑制PSRR等問題,限于水平沒法深入了。最后的簡圖就是這樣,運放的設計當然也非常講究:
如圖溫度特性仿真:
我們知道開關電源的基本原理是利用PWM方波來驅動功率MOS管,那么自然需要產生振蕩的模塊,原理很簡單,就是利用電容的充放電形成鋸齒波和比較器來生成占空比可調的方波。
最后詳細的電路設計圖是這樣的:
這里有個技術難點是在電流模式下的斜坡補償,針對的是占空比大于50%時為了穩定斜坡,額外增加了補償斜坡,我也是粗淺了解,有興趣同學可詳細學習。
誤差放大器的作用是為了保證輸出恒流或者恒壓,對反饋電壓進行采樣處理。從而來調節驅動MOS管的PWM,如簡圖:
最后的驅動部分結構很簡單,就是很大面積的MOS管,電流能力強。
這里的其他模塊電路是為了保證芯片能夠正常和可靠的工作,雖然不是原理的核心,卻實實在在的在芯片的設計中占據重要位置。
具體說來有幾種功能:
1、啟動模塊
啟動模塊的作用自然是來啟動芯片工作的,因為上電瞬間有可能所有晶體管電流為0并維持不變,這樣沒法工作。啟動電路的作用就是相當于“點個火”,然后再關閉。如圖:
上電瞬間,S3自然是打開的,然后S2打開可以打開M4 Q1等,就打開了M1 M2,右邊恒流源電路正常工作,S1也打開了,就把S2給關閉了,完成啟動。如果沒有S1 S2 S3,瞬間所有晶體管電流為0。
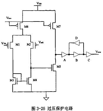
2、過壓保護模塊OVP
很好理解,輸入電壓太高時,通過開關管來關斷輸出,避免損壞,通過比較器可以設置一個保護點。
3、過溫保護模塊OTP
溫度保護是為了防止芯片異常高溫損壞,原理比較簡單,利用晶體管的溫度特性然后通過比較器設置保護點來關斷輸出。
4、過流保護模塊OCP
在譬如輸出短路的情況下,通過檢測輸出電流來反饋控制輸出管的狀態,可以關斷或者限流。如圖的電流采樣,利用晶體管的電流和面積成正比來采樣,一般采樣管Q2的面積會是輸出管面積的千分之一,然后通過電壓比較器來控制MOS管的驅動。
還有一些其他輔助模塊設計。
在IC內部,如何來設置每一個晶體管的工作狀態,就是通過偏置電流,恒流源電路可以說是所有電路的基石,帶隙基準也是因此產生的,然后通過電流鏡來為每一個功能模塊提供電流,電流鏡就是通過晶體管的面積來設置需要的電流大小,類似鏡像。
七、小結
以上大概就是一顆DC/DC電源芯片LM2675的內部全部結構,也算是把以前的皮毛知識復習了一下。當然,這只是原理上的基本架構,具體設計時還要考慮非常多的參數特性,需要作大量的分析和仿真,而且必須要對半導體工藝參數有很深的理解,因為制造工藝決定了晶體管的很多參數和性能,一不小心出來的芯片就有缺陷甚至根本沒法應用。整個芯片設計也是一個比較復雜的系統工程,要求很好的理論知識和實踐經驗。最后,學而時習之,不亦說乎!
目前國內充電管理系統比較成熟,智能集成ic控制整個充電過程,執行鋰電池的涓流、恒流、恒壓三個階段充電功能。性能較穩定的型號有CT6551、CT6201、JW3816、JW6235等。
MCU是應用于PCB板上智能控制系統,可以在不充電輸出狀態下阻止電能流失,并避免設備在充電時受到不穩定的電流、電壓沖擊而損壞;可以對產品進行充放電控制,提供充電保護、放電保護、溫度保護、漏電保護、過載保護、短路保護等多重保護,使產品性能更加安全穩定,使產品本身使用壽命更長,同時也避免不穩定的輸出對手機造成傷害,解決了用戶的后顧之憂。
自動識別手機和多種數碼產品,支持各品牌智能手機及各類平板電腦充電,兼容USB 5V輸入的其他數碼類電子產品充電。目前比較常見的品牌及型號有聚泉、巨威、松翰,海爾HR6P61。
移動電源電池的電壓為3.7V,而輸出電壓則是5.0V,電力需要經過升壓電路才能輸出。在升壓的過程中因為電路上發熱損耗了部分電量,使實際輸出的電量和電池輸出的電量存在一定的差異,兩者的比值叫做移動電源的轉換率。目前國內技術轉換效率高低不等,一般在75-85%.也有些實力較強的廠家采用成本較高的方案,自主研發電路設計,實際轉換率能達到90%以上,當然隨著技術的發展,這一轉換率會越來越高。也有將2節電池串聯成8.4V然后采取降壓方式的,效率能做到95%左右,但對電芯的一致性要求高,安全性比較低,一旦出故障容易燒壞用戶的手機等數碼產品,所以很少有廠家采用。
在所有的電子設備和產品中,都不乏電源管理IC的“身影”。隨著數字高速IC技術和芯片制造工藝技術的共同高速發展,高性能電源IC“助陣”的作用顯得愈加重要。而日新月異的電子產品應用、環保綠色節能需求的興起也對電源IC提出了更高的要求,催生新一代高集成度、高性能和高能效電源管理IC的需求,亦成為電源管理IC廠商永恒的使命。
據市調機構iSuppli預計,2016年電源管理IC市場預計將達到387億美元,消費電子、網絡通信、移動互聯領域都是主要的應用市場,汽車電子、新能源領域也逐漸發力。在應用驅動和技術進步的作用下,對電源IC的技術要求也不斷走高。而且隨著應用的不斷創新,電源IC的市場也呈現出需求多樣化,應用細分化,更多高性能電源IC的市場需求也不斷深化以及擴展化,更好地為滿足系統創新,性能提升而服務。
一方面,伴隨著半導體工藝技術的不斷升級,PCB板上的芯片和元器件功能更高、運行速度更快、體積更小,驅使電源管理IC提供更低更精準的核電電壓以及更大的供電電流、更嚴格的電壓反饋精度、以及更高的效率性能。另一方面,電源管理IC應用領域不斷擴張和深入,實現更優異的控制功能、更智能的控制環路,更快速的動態響應特性,更簡化的外圍布局設計等都“不可或缺”。電源管理IC想要“拿得出手”,都需直面這些難題。
Altera電源業務部市場總監Mark Davidson表示,為了幫助客戶解決這些挑戰和簡化設計,數字化、模塊化、智能化電源IC等已是必然之勢。
他舉例說,就拿FPGA客戶來說,電源管理已日益成為一個戰略性的競爭優勢,特別是在通信、計算以及工業應用等領域。隨著FPGA和SoC的不斷發展,設計人員在下一代嵌入式系統中增加了大量混合信號功能,實現了以前無法企及的系統級性能。如何給功能越來越多、性能越來越高、工藝越來越先進的FPGA供電,確實是一個非常具有挑戰性的問題。比如采用14nm工藝的FPGA會具有更高的性能,相應地也會需要更加高性能的電源與之匹配。而且14nm的FPGA對電源的要求更加苛刻,對電源精度的要求更高,如果電壓范圍超過了規范的要求,就有可能會使FPGA失效,甚至可能會燒壞。
這也意味著,設計者必須要在嚴格的FPGA電源軌要求、系統功耗和散熱預算限制、構建魯棒而又可靠的系統、符合預算要求按時完成其項目、完全滿足其電路板和系統對功能和性能的要求之間找到最佳結合點,這殊非易事。
各大電源管理IC廠商為應對這一市場走勢,都在抓緊排兵布陣,而數字電源成為他們不遺余力的“招數”。憑借靈活、快速響應、高集成度以及高度可控的巨大優勢,數字電源已顯示出強勁的發展勢頭。
據調研機構IHS公司旗下IMS Research的報告,預計2017年全球數字電源市場營業收入將增至124億美元,數字電源IC市場將達到26億美元。數字電源市場以服務器和通信設備應用為主導,同時拓展至其他更多應用領域,或如星火燎原之勢。
POL轉換器一般為低電壓,大電流數字負載(如FPGA,微處理器,DSP及其它具有極高動態特性的數字電路)提供電壓。保持電壓在1V左右的精確調節,同時利用純模擬控制技術來滿足近200A/ns的負載瞬態要求變得越來越困難。有些數字控制器能夠提供在同類模擬IC中難以實現的功能例如非線性控制。事實上,幾乎所有的POL數字控制器都包含了一些不同的旨在改善瞬態響應的控制技術。這些專用控制算法構成了傳統模擬電源公司進入數字電源開發的門檻。電源如果在內部采用數字內核實現控制環路,可以滿足極為嚴苛的瞬態要求,實現極低的紋波電壓,以及在輸出電壓范圍內實現極高的精確穩壓。同時可以支持PMbus通信接口,可以 實現遠程精確的電流,電壓和溫度監控。
數字電源為電源設計領域注入了新的活力,同時也對電源管理IC廠商提出了更高的要求。據了解,一方面,電源管理IC廠商不僅要提供一系列的整合設計方案,而非單一元件,提供高中低端全系列產品;其次,他們也需要全套數字電源開發工具,包括硬件和圖形介面(GUI);最后,獲得相關周邊元件如Power Train,才能創建完整解決方案。另一方面,數字電源IC廠商如果再“單打獨斗”的話,顯然已“力有不逮”。Altera的Enpirion電源產品中國區高級業務經理張偉超提到,主芯片廠家諸如FPGA/ASSP/ASIC的技術日新月異,在性能不斷提升的同時對電源的要求也異常的嚴苛,而電源管理IC廠商不能再和以往一樣孤軍作戰,而是必須要和數字組芯片廠家協同作戰。電源IC廠商需要和主芯片廠商進行有效地技術溝通,因為只有了解系統芯片的需求,電源IC的目標設計規格才顯得更有意義,這種為系統性能需求而定制的電源設計最終能為系統的功耗優化做出巨大的貢獻。這種協作可助力電源管理IC廠商的產品更具競爭力,獲得更多的市場份額。
從近些年的市場并購來看,無疑都佐證了這一趨勢。高通收購了Summit, Mediatek收購Richtek,Microchip收購Micrel,Altera收購了Enpirion以及最近收購了德國創新型芯片公司ZMDI的數字電源控制器部門,道理其實一脈相承,業界都認可并執行類似的策略
而收購一家電源企業的好處或遠比與電源企業合作來得“直接”。Mark Davidson對此表示,一般大型電源管理IC廠商的電源器件會有很多不同的應用領域,他們不會也不可能把全部的精力投入到FPGA領域,而Altera通過收購則會更加關注電源器件在FPGA方面的應用。他強調,收購Enpirion我們成為一個公司后,可以集合電源、FPGA系統工程以及電路板布局的專家,共同開發出一個更好的解決方案。
受SoC化設計趨勢的影響,近年來電源管理IC技術表現出越來越強的模塊化趨勢。一方面,設備正變得越來越復雜,更多功能特性、更快更復雜處理器需要更先進的電源管理解決方案,電源管理技術要在更小的硅芯片上集成更多功能同時以更高的設計靈活性實現更強的系統用電性能,這正在改變傳統的電源設計方法。另一方面,模塊化的電源管理IC可有效降低系統設計的復雜性,節約電路板空間,提高系統的長期可靠性,同時也能有效降低系統成本,帶來的好處是顯而易見的。
因而,市場上的模塊化電源管理IC開始不斷浮出水面。Altera日前就在其Enpirion電源解決方案中新增了一款30amp PowerSoC DC-DC降壓轉換器EM1130。這款被Altera視作“里程碑”式的產品,是集成數字DC-DC降壓轉換器系列的第一款產品,可為Altera的第10代FPGA提供電源管理功能。EM1130的“功力深厚”,引腳布局密度達業界最高,面積不到其他解決方案的一半,不僅可提供嚴格的高輸出穩壓和快速瞬時響應功能,并能夠遠程測量電流、電壓和溫度等關鍵參數。
張偉超介紹說,集成的Enpirion電源單芯片系統最大的優勢在于極大程度的提高了系統的可靠性和易用性,而模塊電源體積小、低EMI以及通過數字控制環路實現更快的負載瞬態響應和更低的噪聲,從而能夠更加智能化地適應平臺廠商對于降低系統功耗的最新需求同時提升性能的嚴苛挑戰,將經驗證的Enpirion電源SoC解決方案與Altera的FPGA結合使用,客戶能夠在盡可能最小的電路板上完成他們的設計,同時還能最大程度地提高性能和降低功耗,加快產品上市、削減材料成本以及增強系統可靠性。
圖:Altera的Enpirion電源SoC解決方案與Arria 10 FPGA結合使用,大大降低功耗并提高系統性能。
此外,電源管理IC的模塊化趨勢還體現在與板上其他芯片的“集成化”上,市場上電源管理IC與主控芯片之間通信及監控等功能的集成化也在日益增多。張偉超提到,未來,Altera將會利用Enpirion公司在電源方面的技術,將某些電源模塊集成進FPGA內部,使得系統電路板電路更加簡潔,功耗和成本都得到優化處理,并更加簡化FPGA系統的開發。
而電源管理IC的智能化亦是大勢使然,或才能主動“配合”平臺主芯片的功能不斷升級的需求。張偉超介紹說,隨著系統功能越來越復雜,對能耗的要求越來越高,客戶對電源運行狀態的感知與控制的要求越來越高,電源設計人員不再滿足于實時監控電流、電壓、溫度,還提出了診斷電源供應情況、靈活設定每個輸出電壓參數的要求。此外,電源管理IC必須和電路板上所需要供電的設備進行有效地連接,因系統要求電源子系統和主系統之間更加實時的合作與配合,甚至要支持通過云端進行的監控去管理,智能化的管理和調控已成必須。
如何去實現智能化?張偉超表示,這需要在兩個方面下工夫,一是電源管理IC要實現與內核通信,各部分之間可相互溝通交流,及時動態的控制加上無縫的溝通可成就一個智能化的電源管理系統,能夠實時地對系統變化的供電需求進行檢測分析和響應,從而大大提高系統的效率。二是內部參數可實現在線調整,這就意味著電源的動態特性是可變的,能順應負載在相當大的范圍內變化同時還能保證一定的性能,數字電源在這方面發揮重要作用,同時還需要不斷在控制算法、自適應方面實現突破。
Altera通過不斷創新,在這方面實現了新的進展。不久前,Altera在亞太地區的14個城市舉辦2015年Altera技術日活動,展示了最新的FPGA、SoC及Enpirion電源解決方案。其中,Arria 10和Enpirion的數字PowerSoC相結合,實現了智能化的FPGA電源系統和最低的功耗。其具體特性包括以下幾個方面:
1. FPGA設計的所有電源供電要求會導致建立FPGA電源樹,不同資源要求有不同的上電順序,這對電源轉換器提出了更高要求。Enpirion器件具有“Power OK”或者“Power Good”引腳,支持對FPGA中不同資源的電源軌的分組排序,向系統控制器或者排序器件發出信號,某一FPGA輸入已經接通電源,可以開始下一排序步驟;
2. 另一常見的系統電源要求是能夠進行遠程監視,對電源各參數進行實時監視、故障報警和相應調節。而最簡單、最便宜、最緊湊的方式是使用集成了遠程監視功能和相應的通信總線的電源調節器。通過智能電壓ID(SmartVID)特性,Altera的Arria 10 FPGA和SoC通過PMBus接口,確定與Enpirion電壓調節器系統之間所需的VCC電壓和通信,將內核電壓軌盡可能動態調整到最小,而不會犧牲系統性能。同時,支持PMBus的Enpirion的ED8101P0xQI單相數字控制器,與ET4040QI大電流電源配對使用,可實現對FPGA的多種遠程監視和低功耗特性。
FPGA電源供電設計有一些常見的要求。理解FPGA設計和應用怎樣影響功耗和電源供電要求會讓設計更清晰,更容易成功。Altera的Enpirion電源解決方案設計滿足了這些苛刻的FPGA電源要求。未來的電子系統功能將日益復雜、多樣和智能化,對電源管理系統的要求也越來越高。深入地理解各個系統的特性和供電需求,并順應數字化、模塊化和智能化的發展趨勢,才能夠為系統提供度身定制的“完美”供電保障。
聯系方式:鄒先生
聯系電話:0755-83888366-8022
手機:18123972950
QQ:2880195519
聯系地址:深圳市福田區車公廟天安數碼城天吉大廈CD座5C1
請搜微信公眾號:“KIA半導體”或掃一掃下圖“關注”官方微信公眾號

請“關注”官方微信公眾號:提供 MOS管 技術幫助